Current Location: | 
                                / CD Catalytic Tray | 
                                    Current Location: | 
                                / CD Catalytic Tray | 
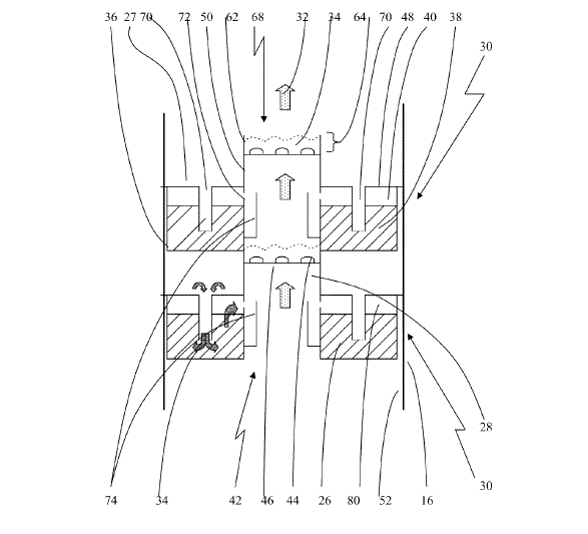
CDT catalytic distillation tray is a mature technology (with granted patents), which has been applied in several industrial units as a reaction/fractionation device. The reaction efficiency and distillation efficiency are increased synchronously, which is applicable to most reactive distillation processes.